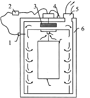
| 1. |
Täytä kuvan 1. taulukko.. |
|
| a) Osa / tehtävä |
Numero |
| b) Sähkövastukset |
3 |
| c) Ylikuumenemissuoja |
4 |
| d) Lämpötilan mittaus |
1 |
| e) Lämpötilan säätö |
2 |
| f) Kärynpoistopuhallin |
5 |
| g) Lämpöeristys |
6 |
| h) Kuumentaa kiertävän
ilman |
3 |
| i) Estää uunia kuumenemasta
liikaa |
4 |
| j) Estää lämmön tulon
työtilaan |
6 |
| k) Pitää uunin oikeassa
lämpötilassa |
2 |
| l )Poistaa uunista
liuotinkaasut |
5 |
| m)Tuloksen perusteella uuni
saadaan pysymään oikeassa lämpötilassa termostaatin
avulla. |
1 |
|
| 2. |
Täytä kuivausmenetelmien ominaisuuksia kuvaava
taulukko. |
|
| Ominaisuus |
Konvektio |
Säteily |
| a) Vähäinen energian kulutus |
|
X |
| b) Sopii kaiken muotoisille
kappaleille |
X |
|
| c) Etäisyyden oltava
täsmälleen oikea |
|
X |
| d) Nopea pinnan lämpiäminen |
|
X |
| e) Ei lämmitä katvealueita
kuin hajasäteilyn ja johtumisen avulla |
|
X |
|
| 3. |
Täytä kuvan 2. taulukko. |
|
| Tehtävä |
Painike |
| a) Painetaan ensin, kun
lämpötilaa halutaan muuttaa. |
SET |
| b) Painamalla lämpötilaa
voidaan nostaa. |
UP |
| c) Painamalla lämpötilaa
voidaan laskea. |
DOWN |
|