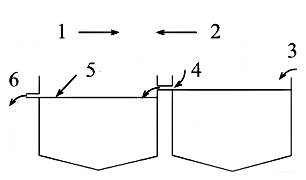
| 1. |
Täytä taulukko kuvien 1 ja 2 vastaavilla
numeroilla. |
|
| a) Puhtaan veden tulo |
3 |
| b) Puhtaamman huuhteluveden
ylijuoksu likaisemman huuhteluveden altaaseen |
4 |
| c) Veden pinta |
5 |
| d) Kappaleiden kulkusuunta |
1 |
| e) Veden poisto viemäriin tai
puhdistukseen |
6 |
| f) Huuhteluveden kulkusuunta |
2 |
| g) Ei ruiskutusta tällä
alueella, jotta huuhteluvedet eivät sekoittuisi
keskenään roiskumisen vuoksi |
8 |
| h) Alue jossa ruiskutusta |
7 |
|
|
2. |
Yleisenä sääntönä voidaan pitää
sitä, että yhden
huuhteluvaiheen lisääminen vähentää huuhteluveden
kulutuksen kymmenesosaan. Kuinka paljon vähemmän
huuhteluvettä kuluu kolmivaiheisessa huuhtelussa
yksivaiheiseen nähden?
VAST: 1 / 100 |
| 3. |
Täytä taulukkoon sopivat
huuhteluvesien kulutusarvot.
| 1-vaiheinen |
2-vaiheinen |
3-vaiheinen |
| 12000 litraa |
1200 litraa |
120 litraa |
| 5000 litraa |
500 litraa |
50 litraa |
| 4000 litraa |
400 litraa |
40 litraa |
|
|
|
Kuva
1. Kastomenetelmä
|
 |
|
Kuva
2. Ruiskutusmenetelmä
|
|

|
|