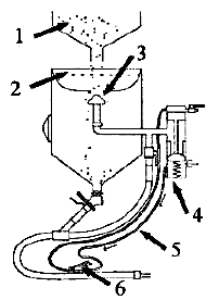
| 1. |
Täytä kuvan 1. taulukko. |
|
| a) Pop-up venttiili auki,
rae valuu kelloon |
3 |
| b) Estää roskien pääsyn
kelloon |
2 |
| c) Ohjausilma poistuu
aukosta, kello ei toimi |
6 |
| d) Rakeet palautuvat
kierrosta tänne |
1 |
| e) Ohjausilman tulo
kahvalle |
5 |
| f) Venttiili kiinni, paine
ei pääse kelloon |
4 |
|
|
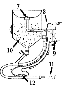
2. |
Täytä kuvan 2. taulukko. |
|
| a) Ilma- aukko suljettu,
kello toiminnassa |
12 |
| b) Tuleva ohjausilma painaa
jousen alas |
8 |
| c) Kiinni kun kello
paineellinen |
7 |
| d) Säiliö paineellinen |
10 |
| e) Rakeet ja ilma ulos
suuttimesta |
11 |
| f) Pääventtiili auki,
ilma pääsee kelloon |
9 |
|
|
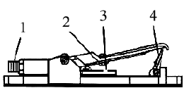
3. |
Täytä kuvan 3. taulukko |
|
| a) Ilma-aukko. Kun auki, kello ei toimi |
3 |
| b) Kumitulppa, joka sulkee
ilma-aukon |
2 |
| c) Tulo- ja menoilmojen
liitännät |
1 |
| d) Liipaisimen varmistin.
Jousi pitää ylhäällä |
4 |
|
|
| Kuva 1.
Suihkupuhdistuskellon täyttövaihe |
|

|
| Kuva 2.
Suihkupuhdistuskello toiminnassa |
|

|
| Kuva 3.
Suihkupuhdistuskahva |
|

|
|