Suihkupuhdistussuuttimet ja -profiili vastaukset

 

1. Mitkä seuraavista suihkupuhdistusprofiiliin liittyvistä väittämistä ovat oikein ja mitkä väärin?
Väittämä

O

V

a) Karkea profiili parantaa maalin tartuntaa pintaan. x  
b) Karkea profiili lisää maalin kulutusta. x  
c) Luonnon hiekalla saadaan karkeampi profiili kuin teräsrakeella.   x
d) Pieni kokoinen teräsrae saa aikaan karkeamman profiilin kuin suurikokoinen   x
2. Mitkä seuraavista suihkupuhdistussuuttimiin liittyvistä väittämistä ovat oikein ja mitkä väärin?
Väittämä

O

V

a) Suoralla suuttimella saadaan tasaisempi raesuihku   x
b) Venturisuuttimella saavutetaan suurempi suihkupuhdistusnopeus x  
c) Suorareikäinen suutin on venturisuutinta parempi, kun rakeena on lasikuula x  
d) Venturisuutin on suuaukostaan pienempi kuin keskiosasta   x
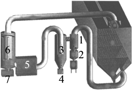
3. Kuva 3 esittää rakeiden palautuslaitteistoa kokonaisuudessaan. Täytä taulukkoon osan tehtävää vastaava numero.
a) Erottaa roskat ja rikkoutuneen rakeen pölystä 3
b) Erottaa pölyn kiertävästä ilmasta 6
c) Erotetut rakeet kerätään tänne 2
d) Imee ilmaa ja raetta siilojen alla olevista putkista 5
e) Erottaa käyttökelpoisen rakeen 1
f) Hieno rae ja roskat kerääntyvät tänne 4
g) Pöly kerääntyy tänne 7
Kuva 1. Suihkupuhdistusprofiili

 

Kuva 2. Suihkupuhdistussuuttimet

 

Kuva 3. Rakeiden palautuslaitteisto