Hajotusilmaruiskujen maalinsyötön kertaustehtävien vastaukset

 

1. Yhdistä viivoin maalisyöttötyypit ja kuvat
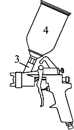
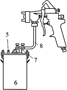
1  Ylävasen 2 Painovoimasyöttö
2  Yläoikea 4 Pumppu
3  Alavasen 1 Imusyöttö
4  Alaoikea 3 Painesäiliösyöttö
2. Mitkä seuraavista väittämistä ovat oikein ja mitkä väärin?
    O V
a) Yläsäiliöruiskulla voidaan käyttää kaikki maali x  
b) Imusäiliöruiskussa maalin imee ilmasuuttimessa 1 virtaava ilma x  
c) Painesäiliösyötössä pistooli toimii vain, kun se on oikein päin   x
d) Painesäiliösyötön etu on tasainen paine x  
e) Pumppusyötössä maali voidaan imeä suoraan astiasta x  
3 Täytä kuvan 1 taulukko:
a) Maali nousee imuvoiman ansiosta 2
b) Maali valuu suuttimelle, suutin myös imee maalia 3
c) Säiliössä oleva paine työntää maalia letkun kautta pistoolille 8
d) Pumppu työntää maalin letkuun ja edelleen pistoolille 10
e) Maalisäiliö jossa ei ole painetta 4
f) Maalin paineen säätö 7
g) Virtaava ilma saa aikaan alipaineen,  joka imee maalia 1
h) Maali paineellisessa säiliössä 6
i) Ylipaine purkautuu tästä ulos 5
j) Mäntä- tai kalvopumppu 11
k) Avoin maaliastia 9
Kuva 1. Maalinsyöttötavat © RTV-Yhtymä OY