|
|
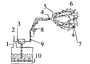
| 1. |
Täytä kuvan 1 taulukko.
| a) Koronamenetelmällä
jauhetta tulee enemmän ulkokulmiin |
3 |
| b) Varauselektrodi |
1 |
| c) Kitkavarausputki |
4 |
| d) Kitkamenetelmällä jauhe
jakaantuu tasaisemmin kappaleen pintaan |
6 |
| e) Koronamenetelmällä jauhe
menee huonosti sisäkulmiin |
2 |
| f) Kitkamenetelmässä useita
suuttimia |
5 |
|
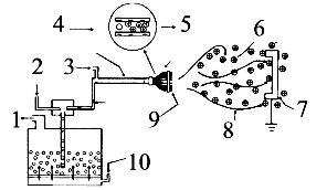
| 2. |
Täytä kuvan 2 taulukko. |
|
| a) Kappaleen maadoitus |
7 |
| b) Leijutusilman tulo |
10 |
| c) Leijutusilman poisto |
1 |
| d) Jännitelähde /
säätöyksikkö |
8 |
| e) Ilman lisäys lisää
jauheen syöttöä |
2 |
| f) Ilman lisäys vähentää
jauheen syöttöä |
3 |
| g) Jauhe letkua pitkin
pistoolille |
9 |
| h) Varaa ilman, joka varaa jauheen |
4 |
| i) Pistoolin ja kappaleen
välinen sähkökenttä |
6 |
| j) Varautuneet, vapaat ionit |
5 |
|
| 3. |
Täytä kuvan 3 taulukko. |
|
| a) Leijutusilman tulo |
10 |
| b) Leijutusilman poisto |
1 |
| c) Useita jauhesuuttimia |
9 |
| d) Maadoitus |
7 |
| e) Ilma kuljettaa jauhetta |
8 |
| f) Varautunutta jauhetta |
6 |
| g) Jauheen tulo
kitkavarausputkeen |
4 |
| h) Positiivisesti varautunut
jauhe ulos |
5 |
| i) Kuljetusilman tulo |
2 |
| j) Täydennysilman tulo |
3 |
|
|
|
|
|
|
|
|
|
|
|
|
|
|
| Kuva
1. Korona / kitkavaraus |
|

|
| Kuva
2. Koronavarauslaitteisto
© Nordson Corporation |
|

|
|
Kuva 3.
Kitkavarauslaitteisto ©
Nordson Corporation |
|

|
|