|
|
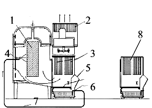
| 1. |
Täytä kuvan 1 taulukko.
| a) Vaihdetaan värin vaihdon
yhteydessä |
8 |
| b) Jauheen lisäys |
5 |
| c) Syöttää jauheen
pistoolille |
6 |
| d) Jauheen meno pistoolille |
7 |
| e) Puhdistaa ilman
lopullisesti |
2 |
| f) Poistaa jauheen ilmasta |
3 |
| g) Maalattava kappale |
1 |
| h) Ruiskuttaa jauheen pintaan |
4 |
|
| 2. |
Täytä kuvan 2 taulukko. |
|
| a) Ruiskuttaa jauheen pintaan |
1 |
| b) Maalattava kappale |
3 |
| c) Jauheen meno pistoolille |
11 |
| d) Kierrätettävän jauheen
talteenotto |
8 |
| e) Jauheen talteenotto, ei
kierrätystä |
7 |
| f) Puhdistavat poistettavan
ilman |
5 |
| g) Puhdistaa kierrätettävän
jauheen |
4 |
| h) Jauhemaalauskaappi |
2 |
| i) Kuljettaa jauheen
seulontaan |
9 |
| j) Hukkajauheen
keräyssäiliö |
6 |
|
| 3. |
Mitkä seuraavista väittämistä
ovat oikein ja mitkä väärin? |
|
|
| a) |
| Sykloni puhdistaa
lopullisesti ilman suodatuksen jälkeen |
|
x
|
|
| b) |
| Syklonin erottama jauhe
seulotaan ja palautetaan ruiskulle |
x
|
|
|
| c) |
| Modulista ( 8 ) ei vaihdeta
väriä |
x
|
|
|
| d) |
| Syklonin jälkeisestä
suodatuksesta saatava jauhe palautetaan kiertoon |
|
x
|
|
|
|
|
|