|
Vesien
lisäyksissä aktiivivaiheisiin käytetään mahdollisuuksien mukaan
hyväksi jo käytettyjä huuhteluvesiä. Näin toimittaessa saadaan
huuhteluvedet pysymään hieman puhtaampina ja aktiivivaiheista
huuhteluihin mennyttä kulkeumaa hieman palautettua takaisin.
Kun
huuhteluvaiheita on useita käytetään huuhteluissa ns. vastavirta
periaatetta, missä jälkimmäisen huuhtelun vettä siirretään
ensimmäiseen ja uutta vettä lisätään vain jälkimmäiseen
huuhteluvaiheeseen.
Vettä
siirretään altaista toisiin kannuilla joita on yhteensä kolme.
Kannuja käytetään alhaalla olevan taulukon mukaisesti.
Kannuja käytetään
näin siitä syystä että kannujen mukana ei
tulisi "vieraiden aineiden" kulkeumaa aktiivivaiheisiin.
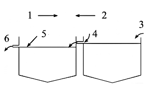
| Kuva 15.
Vastavirtahuuhtelun periaate |
 |
| 1. |
Kappaleiden
kulkusuunta |
| 2. |
Veden kulkusuunta |
| 3. |
Puhtaan
veden tulo |
| 4. |
Veden siirto
puhtaammasta huuhtelualtaasta likaisempaan |
| 5. |
Veden pinta |
| 6. |
Veden
poisto likaisemmasta huuhtelusta
|
|
| Kannu
1 |
Veden
siirto altaista 3 ja 4 |
| Kannu
2 |
Veden
siirto altaista 6 ja 7 |
| Kannu
3 |
Veden
siirto altaista 13, 14 ja 15 |
|
|
|
Huuhteluvesiä siirretään
aktiivivaiheisiin alla olevan taulukon mukaan. Lisäysjärjestys
tulee olla taulukon mukainen.
Lisäysten aikana on käytettävä
suojalaseja ja kumikäsineitä roiskeiden varalta. Kumikäsineet
tulee huuhdella lisäysten jälkeen hanan alla runsaalla vedellä
huomaamattomien roiskeiden vuoksi.
Tee lisäykset taulukon mukaisessa järjestyksessä.
|
| Allas
josta lisäys tulee |
Allas
johon lisätään |
Kannu |
| 3 |
1 |
1 |
| 3 |
2 |
1 |
| 4 |
3 |
1 |
| 6 |
5 |
2 |
| 7 |
6 |
2 |
| 14 |
13 |
3 |
| 15 |
14 |
3 |
| 16 |
15 |
3 |
|
|
Kuva 16.
Käytettävät suojavälineet vesien lisäyksissä |
|
|
| Jos veden lisäysten
aikana työasulle roiskuu aktiivivaiheiden nesteitä tulee
työasu huuhdella vedellä.
Kaataminen tulee suorittaa
varoen roiskumisen välttämiseksi. Lisäysten jälkeen kannut
huuhdellaan tarkoin viimeisissä huuhtelualtaissa joista niillä
on otettu vettä. |
|
|
|